Repuestos y AccesoriosOriginalesKIT DESCARGA FZ15 2019
solo_kits

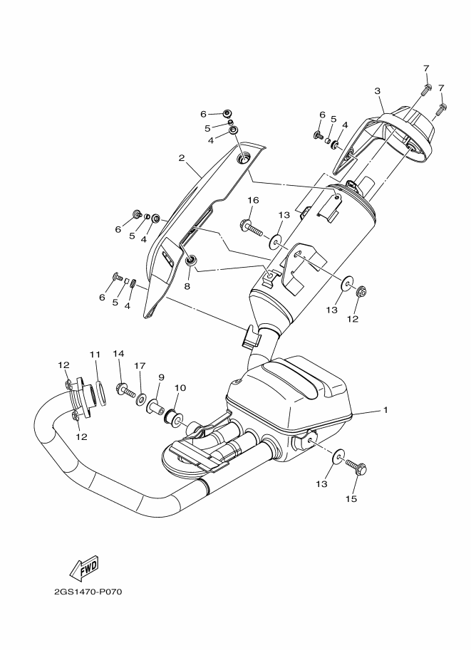
KIT DESCARGA FZ15 2019

YAMAHA
Referencia: KITDESCARGAFFZ15 2019
Star icon
Star icon
Star icon
Star icon
Star icon
Avísame cuando éste producto esté disponible:
Quiero saber cuando este producto está disponible

Al dar clic en enviar, autorizas el tratamiento de tus datos personales por parte de Incolmotos Yamaha S.A., que serán tratados conforme la política que puedes consultar en el siguiente link.

Tiempo de Entrega
Condiciones Generales
Comentarios:

Comentarios

Cargando el resumen…
Cargando comentarios…
Preguntas y Respuestas:
Encuentralo en el Kit